Система автоматики для газового котла отопления и теплоснабжения Энтроматик 122
Группа компаний НПК «Завод модульного энергооборудования» предлагает купить автоматику для газовых котлов отопления Энтророс серии Энтроматик 122 - надежная технология российского производства. Есть в наличии на складе и !
Так же, наши инженеры осуществляют проектирование и монтаж систем автоматики котельной на котлах Энтророс для Вашего объекта.
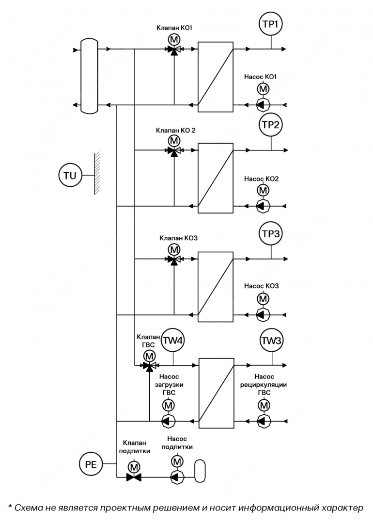
Система автоматики для газового котла отопления ЭНТРОМАТИК 122 является расширенной версией ЭНТРОМАТИК 121, используется для управления контурами отопления и ГВС (до 5 контуров, устанавливаемых при наладке системы автоматики). Автоматика для газового котла ЭНТРОМАТИК 122 обеспечивает погодозависимую корректировку температуры отопительных контуров.
Допускается самостоятельное применение или работа в составе комплекса, спроектированного на базе системы автоматики для котла отопления ЭНТРОМАТИК 120MS. В системах автоматики на базе ЭНТРОМАТИК 120.02MS - не используется.
Описание
Система автоматики для газового котла отопления ЭНТРОМАТИК 122 выполнена как программно-аппаратный комплекс, построенный на программируемом логическом контроллере (ПЛК), с процессорным модулем S7-1214.
В контроллер установлено прикладное программное обеспечение (ПО) ООО «ЭНТРОРОС», выполняющее сбор и обработку данных, заведённых в ПЛК; по этим данным формируются алгоритмы управления контурами отопления (КО).
Работа ПО основана на принципе: при наступлении событий, влияющих на состояние технологического процесса, система вырабатывает соответствующее управляющее воздействие.
Основные функции автоматики котла
Таким образом, основными функциями автоматики для газового котла отопления ЭНТРОМАТИК 122 являются:
- управление 5 КО или 4 КО и 1 контуром ГВС;
- контроль и управление исполнительными механизмами;
- визуализация технологического процесса с помощью устройств ввода/ вывода информации;
- обработка, систематизация и ведение журнала технологической информации.
Для реализации этих задач в блоке автоматики для котла отопления применяются:
- управление клапаном по алгоритмам управления, с параметрами, заданными оператором;
- управление насосами в соответствии с заданным алгоритмом;
- визуализация и отображение процессов регулирования с выводом параметров на панель оператора и на уровень диспетчерского управления.
Технические характеристики автоматики Энтроматик 122
|
Функционал |
До 5 КО, погодозависимое регулирование |
|
Индикация/визуализация |
HMI панель 4 дюйма |
|
Применение |
Индивидуально, или в составе ЭМ120MS |
|
Диспетчеризация |
Modbus TCP |
|
Габариты |
500x600x200 |